字節跳動在布局支付領域上又有新進展。
據移動支付網了解,字節跳動于11月18日再次申請在42類、9類中的“doupay”商標。
商標局官方信息公示,字節跳動在2019年12月26日和2020年6月30日便申請過42類中的“doupay”商標,目前都處于駁回狀態。
另外,字節跳動在2019年12月26日也申請過9類中的“doupay”商標。不出所料,也被駁回。
爲什麽字節跳動如此執著申請這兩類中的“doupay”商標呢?
據悉,字節跳動在以上兩個時間段中申請的42類“doupay”商標都有一個共同點,都包含了SaaS服務。
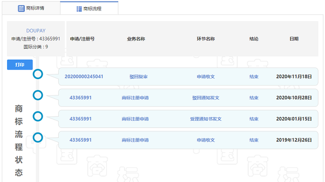
由以上字節跳動申請的9類“doupay”商標流程顯示,最新申請的仍是以下服務內容。而值得注意的兩項服務爲可下載的計算機程序和可下載的手機應用程序。
結合以上兩個專利申請,筆者猜測字節跳動可能計劃在未來推出一款SaaS服務相關的應用軟件。
此外,移動支付網意外發現在2019年7月25日,字節跳動也申請了42類、9類中的“抖音支付”商標,其中商標局只通過了42類中的“抖音支付”商標,9類仍處于駁回狀態。
而今年9月,企查查資料顯示,第三方支付機構武漢合衆易寶科技有限公司(下稱“合衆支付”)發生投資人變更項目,原股東中發實業(集團)有限公司退出,天津同融電子商務有限公司成爲合衆易寶唯一股東,而該公司實際控制人正是字節跳動創始人張一鳴,這意味著“頭條系”獲得了支付牌照。
公開資料顯示,合衆支付成立于2012年11月,並在2014年7月獲得由中國人民銀行頒發的《支付業務許可證》,獲准開展互聯網支付業務,資質較爲單一。合衆支付是湖北省首家持牌互聯網支付企業,但實際上其公司員工多在北京。
合衆支付目前主要産品包括收款類、結算類和行業化解決方案,其中收款類産品有網銀支付、認證支付、代收、快捷支付、聚合支付等;結算類産品有代付、實時結算等;行業化産品有移動收銀台、擔保支付、實時分賬等。
而結合前文信息可知,字節跳動在支付領域的布局並不僅限于拿到支付牌照,此前它便爲旗下平台申請了多個支付相關商標。
- 2018年12月11日字節跳動旗下社交平台多閃在申請注冊了“多閃支付”、“多閃付”、“多閃錢包”等一系列支付相關商標;
- 2019年4月,字節跳動申請了一系列“字節支付”商標;
- 2019年7月,字節跳動申請了一系列“抖音支付”商標;
- 而現網傳的“doupay”商標也早在去年底便在其計劃之中。
除了在國內的布局,字節跳動在海外也有所布局。2020年3月,字節跳動相關招聘信息顯示其正在新加坡組建全球支付平台。招聘的崗位包括全球支付産品經理、軟件工程師、技術主管經理等。





